Service parts mWing A-modulo


Service parts mWing A-modulo

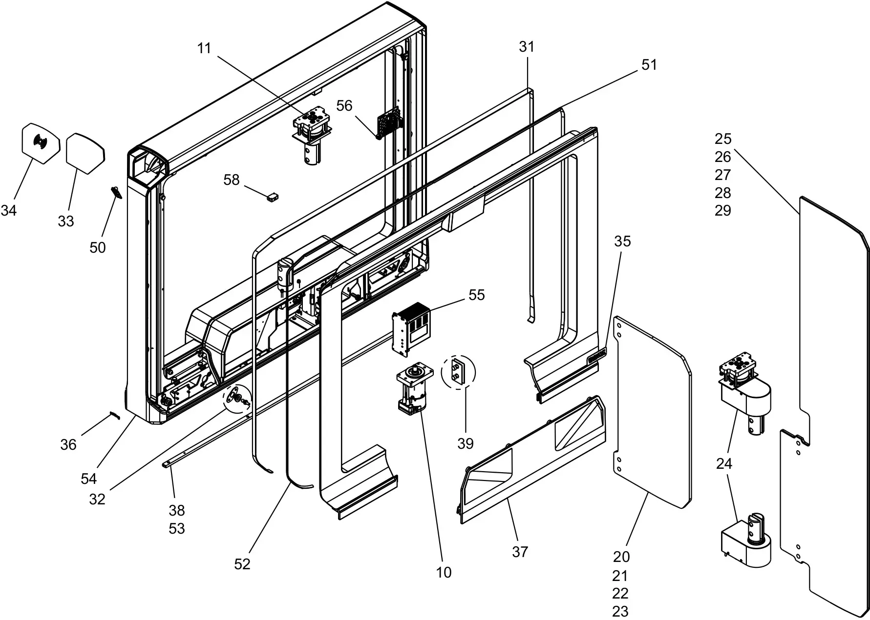
List of parts:

58
#32902
480,16 EUR including 23.00% VAT