Service parts ACL Access-L Electrical parts


Service parts ACL Access-L Electrical parts

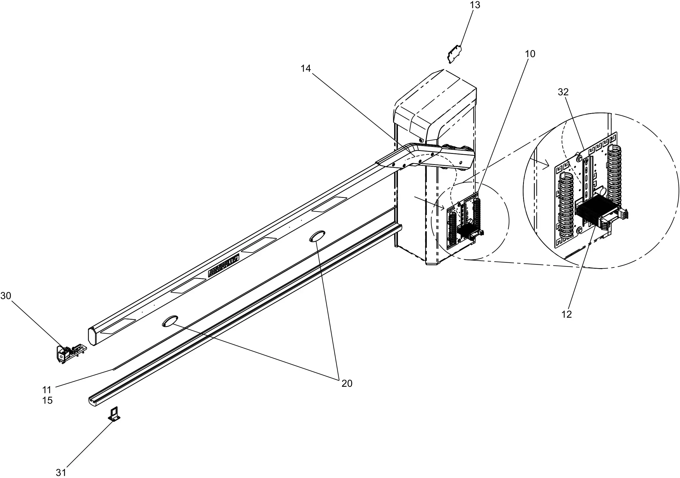
List of parts:

32
#32902
472,43 EUR including 23.00% VAT